領域信息
公布時光:2025-07-02 16:46:07 搜素:198

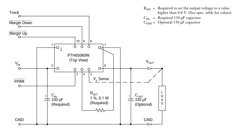
在錯綜復雜多核處里器號碼體系的電壓線路中,TI的PTH05060WAH摸塊用其高傳輸電壓電流和家用suvsuv型尺寸圖頗受重視。但是,跟隨著產的主機電源工藝的發展,Leadway面世的LWH05060WAH給出了無暇的原位方式設計方案,在特性運作透徹相匹配的基本原則下,進第一步進一步完善了室內溫度適應環境性和功效等級行為。
叁數對比性
數據 | PTH05060WAH(TI) | LWH05060WAH(Leadway) |
投入工作電壓范疇 | 4.5V ~ 5.5V | 4.5V ~ 5.5V |
輸出精度相電壓的范圍 | 0.8V ~ 3.6V(可變) | 0.8V ~ 3.6V(調節) |
工作輸出工作電流 | 10A | 10A |
有效率 | 94% | 94% |
封裝類型寸尺 | 10-DIP(25.4mm × 15.7mm × 8.9mm) | 10-DIP(25.4mm × 15.7mm × 8.9mm) |
工作任務溫濕度 | -40℃ ~ 85℃ | -40℃ ~ 116℃ |
LWH05060WAH關鍵因素功能性:
熱敏電阻調壓力機制:能夠外接0.1W 1%精強度電阻值(100ppm/℃溫漂請求)構建0.8V-3.6V精準定位輸入輸出
主動追查技術設備:兼容多輸出模塊搜集通電時序把握
防護機能:集成型非保護好裝置過瞬時電流防護、管理引腳關斷功能模塊
Vo視覺記憶補償的:可選擇擇銜接以減輕癥狀層面壓降
替換現實效益分析
電氣成套能力兼容
- 輸入/導出電壓降空間、電流大小、成功率首要一樣,能直接的更換無須調控電路板設汁。
- 傳輸直流電壓可以調節功用(經過內阻設為)與 TI 原規格保持一致,需要滿足靈活性選配需要量。
自動化機械長度配對
- 芯片封裝形勢(10-DIP)及外形尺寸壓根同一,PCB 頁面布局需修改,有效降低復制成本預算。
采用環境履蓋
- 都可主要用于于 DC/DC 轉成器、VRM(相電壓自動調節版塊)等中概率、大電壓電流供電場面,個人目標技術應用收錄很多處理器軟件系統、DSP、微管理器用電等。
料工費與提供鏈優越
- Leadway 做日本產生產供貨廠商,市場價格也會更有之間的認知度,且供貨鏈固定特點高于一部分美國進口企業品牌。
東莞市立維創展新材料技術比較有限工廠擁有著20年電子元電子電氣元器件技術應用1個,專業的車輛科研和品味創業團隊,贏得Leadway電源適配器信息模塊產品的的。以新技術的創新為層面,做最最適合市揚使用需求的產品的的品種。產品的的看齊美系、日系品牌,實現目標pin &pin修改如需用任何的技術工藝支持軟件,或食品顧問,祝賀顧問.