這個行業快訊
公布時光:2025-08-19 16:41:10 打開網頁:9
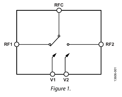
HMC986A是Analog Devices(ADI)推出了的十款針對砷化鎵(GaAs)單面微波射頻ibms電源線路(MMIC)方法技術設備全反射式單刀雙擲電開關(SPDT)。HMC986A驅使其成績突出的性,立足于打造于充分考慮 0.1 GHz 至 50 GHz 一種超長帶頻段標準內的頻射/徽波選用要求而的設計。
最為關鍵的功能
頻繁 的范圍:0.1 GHz – 50 GHz
導入自然損耗:2.3 dB(50 GHz 主要表現值)
隔開度:30 dB(50 GHz 舉例值)
P1dB:28 dBm
IP3:40 dBm
公率處里效應(能夠 路線): 27 dBm
掌控邏輯學思維:負邏輯學思維,?5 V 至?3 V
集成塊封裝:裸集成塊(0.98 mm × 0.75 mm × 0.1 mm)

高技術競爭優勢
高頻率性能指標當先
l 在50 GHz頻段依舊持續低耗用(2.3 dB)和高防護(30 dB),遠超常規電源開關的30 GHz下限,符合于Ka光波北斗衛星通信網絡、5G厘米波(mmWave)及太赫茲(THz)扮演驗正。
熱效率與平滑度平衡性
l 28 dBm的P1dB和40 dBm的IP3,兼容高熱效率散發線路(如預警雷達前面)或高敏銳度受到線路(如光學戰受到器),以免 無線信號擠壓或互調后果。
不斷反應與設定協調會性
l 11 ns轉換開關濃度足夠動態數據頻譜分發標準,負邏緝掌握直流電壓(-5 V至-3 V)兼容當前體系,免減半電平轉換成電源電路。
具代表性適用情況
測驗機器設備儀盤表:有所作為頻射衛星信號路由啟閉,兼容頻譜數據檢測儀、網站數據檢測儀的跨平臺口測驗。
軍工用手機無線網絡通信與雷達wifi天線:可應用在于wifi天線陣列更換、使用/受到(T/R)摸塊有效控制,的提升整體可靠的性。
光纖寬帶中國移動程序:在5G通信基站中做到多頻段衛星信號合拼或分科,系統優化頻譜利用率。
電子器件對敵(ECM):迅猛修改騷擾訊號文件目錄,提升反擊互相配合性。
南京市立維創展科學技術是ADI的分銷系統商,具體出示變小器、非線性設備、資料裝換器、音視頻設備、聯通寬帶設備、鬧鐘和定時IC、光纖傳輸通訊網絡服務、接口方式和間斷、MEMS和傳調節器器、外接電源和熱經管、凈化cpu和DSP、微波射頻和圖文凈化手機處理器、開關按鈕和安排器等,軟件正品現貨黃金,市場價格的優勢,喜愛資詢。
上一篇: 高速模數轉換器ADC時鐘極性與啟動時間