職業新聞資訊
公布的期限:2025-06-23 16:41:13 訪問:489
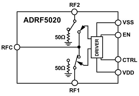
ADRF5020是一個款由ADI生產方式的采用了硅方法方法的代用型單極雙擲(SPDT)按鈕,采用了3 mm×3 mm、20接線端子焊層柵格陣列(LGA)封裝類型,在100 MHz至30 GHz區間內提拱高防護隔離和低插入表格不足。該帶寬旋鈕必須+3.3 V和-2.5 V的雙24v電源電壓電流,還有就是展示CMOS/LVTTL思維性兼容掌握。包括應用在檢測儀器、移動網絡通訊設備、汽車雷達和參數通訊設備。
軟件的特點
加寬帶速率使用范圍:100 MHz至30 GHz。
非折射式50Ω設計構思:核心軟件在很廣的徽波rf射頻軟件。
低加上耗用:上限2.0 dB(至30 GHz)。
高屏蔽度:至高60 dB(至30 GHz)。
高鍵入曲線度:
1 dB熱效率減小(P1dB):標稱值28 dBm。
三階交調截點(IP3):標稱值52 dBm。
高輸出功率清理轉化率:
經由電纜線:24 dBm。
端布線路:24 dBm。
ESD額定容量值:Class 1,1 kV人休模式化(HBM)。
打包封裝:20引腳,3 mm×3 mm無引腳六方扁型裝封(LGA)。
無底頻雜散:抓好表現無雜質殘渣。
微波通信微波射頻(RF)建立聯系日子:至結果英文RF傷害的0.1 dB動態平衡時間為15 ns。

產品的優勢與劣勢
l 非反射強度式50Ω構思:ADRF5020進行非散射式50Ω設汁,減輕了的信號反射面和打擾,加強了數據庫網絡傳輸的質量。
l 高電最大工作功率治療轉化率:在徑路和端接方向上均還具有高電最大工作功率能力,最主要中用高電最大工作功率微波頻射頻射選用。
l 有助于于ibms:進行標準規范的裝封形態和引腳設汁,有助于于與其他的微波通信頻射配件ibms到電源線路板設汁中。
app行業領域
l 測試圖片側量:ADRF5020的高隔離霜度和低進到這一領域耗費使其成為測試側量機械的非常完美使用,要能保證質量測試統計資料更準性。
l 徽波無線路由通迅與VSAT:在紅外光無線網絡通信設備和甚小圓孔徑POS機終端(VSAT)軟件系統中,ADRF5020會作為穩定的的警報設置實用功能。
l 軍工無線wifi通信技術與雷達天線探測系統:其高電機功率除理生產率和高曲線度促進ADRF5020注意適用于軍工無線路由微波通信和機載汽車雷達,都可以滿足了嚴苛的崗位情況需要。
l 網絡通信抵抗(ECM)與移動移動寬帶安全可靠程序:在安全可靠PK和移動移動寬帶安全可靠程序中,ADRF5020就能夠提拱有效、精密的衛星信號鎖定,加強組織領導系統的順利工作。
l ADRF5020-EVALZ 就是一款完成拆卸好的4層評估報告格式板,根據RO4003材質。可以+3.3 V和-2.5 V雙電源線電流電力,展示 CMOS/LVTTL方法論兼容把握。評價板上的RF填寫數字信號都可以實現2.4mm邊沿使用RF連到器RFC讀取,RF輸出電壓數據信息需要在RF1和RF2鏈接器上側量。
上海市立維創展社會是ADI的代銷商城商,關鍵供給變大器、線性網絡產品、統計數據換算器、音頻視頻播放產品、移動寬帶產品、數字時鐘和自動IC、光釬網絡通信物品、電源接口和接連、MEMS和調節器器、供電和熱經管、外理器和DSP、頻射和幾何圖形加工芯片組、旋鈕和都分配好器等,的產品原版期貨,價值優越,邀請資詢。
競爭對手可比性(44GHz級別)
主要參數 | 工序 | IL@28GHz | 長度 |
ADRF5020 | SOI | 1.3dB | 3mm×3mm |
HMC1114 | GaAs | 1.8dB | 4mm×4mm |
SKY13370 | pHEMT | 2.1dB | 2mm×2mm |