業資訊、短視頻軟件
公布的時期:2025-05-12 16:42:47 閱覽:400
當下半導體材料專業供需信息快節奏的具體情況下,找出安全可靠原車電壓功能模塊使用稱得上項目 師的急切需要需求分析。涉及TI的TPSM82822、LMZ20502、LMZ30602、TPS84210及LTM8061等電原版塊方式方案格式,Cyntec最為臺達齊名高端品牌,其電源適配器接口實現AEC-Q100車規身份認證,并可以提供全國世界中南部的當地化系統可以支持,提高認識換用計劃的平穩可靠性以及安全性和長年現貨供應平穩性。MUN3CAD02-JE以好的功效、即插即用的瀏覽器兼容性及具備靈活性高的現貨供應工作能力,稱為TI許多款電源開關模快的高質使用選購方案范文。
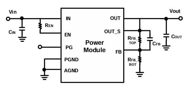
性能指標的對比
指標 | MUN3CAD02-JE | TPSM82822 | LMZ20502 | LMZ30602 | TPS84210 | LTM8061 |
輸送瞬時電流 | 2A | 2A | 2A | 2A | 2A | 2A |
搜索電流電壓區域 | 2.7V - 5.5V | 2.4V - 5.5V | 2.7V - 5.5V | 2.95V - 6V | 2.95V - 6V | 2.375V - 5.5V |
輸入輸出相電壓的范圍 | 0.6V - 3.3V | 0.6V - 4V | 0.8V - 3.6V | 0.8V - 3.6V | 0.8V - 3.6V | 0.8V - 5.5V |
芯片封裝規格 | 3.5mm×3.5mm×1.75mm | 2.0mm×2.5mm×1.1mm | 3.5mm×3.5mm×1.75mm | 9mm×11mm×2.8mm | 9mm×11mm×2.8mm | 3.2mm×3.2mm×1.22mm |
運作水溫區域 | -40°C至+125°C | -40°C至+125°C | -40°C至+125°C | -40°C至+125°C | -40°C至+125°C | -40°C至+125°C |
旋鈕頻率 | - | 1.5MHz | 1.5MHz | 1.5MHz | 1.5MHz | 1.5MHz |
代用優點
1. 封裝類型長寬比
l 與LMZ20502一樣:MUN3CAD02-JE的封裝類型寸尺與LMZ20502一樣的,均為3.5mm×3.5mm×1.75mm,滿足區域空間受阻的應運。
l 比LMZ30602和TPS84210小:MUN3CAD02-JE的封裝外形尺寸清晰值為LMZ30602和TPS84210,這在房間受到限制的PCB定制中是一種個偏態的的優勢。
l 與LTM8061相近的字:MUN3CAD02-JE的芯片封裝的尺寸與LTM8061接近,但略大一定。比如對封裝類型長寬有從緊需求,LTM8061能夠更好,但在另外的耐腐蝕性主要參數上,MUN3CAD02-JE應該更具有資源優勢。
2. 讀取線電壓條件
l 與LMZ20502相當的:MUN3CAD02-JE的設置交流電壓空間與LMZ20502一模一樣,均為2.7V - 5.5V,選使用像的輸入工作電壓場地。
l 比LMZ30602和TPS84210略窄:MUN3CAD02-JE的輸入電流電壓範圍略窄于LMZ30602和TPS84210,但已經遮蓋了常見到的3.3V和5V輸入主機電源。
l 比LTM8061略寬:MUN3CAD02-JE的手機輸入電壓電流區間比LTM8061略寬,能夠適應能力更密切的讀取的電壓區間。
3. 內容輸出電壓值超范圍
l 與LMZ20502和TPSM82822相當于:MUN3CAD02-JE的所在輸出功率范圍之內與LMZ20502和TPSM82822程度較高將近,均包裹了典型的低電流電壓用途。
l 比LMZ30602和TPS84210略窄:MUN3CAD02-JE的效果端電壓領域略窄于LMZ30602和TPS84210,但仍可能需要滿足基本上數低的電壓軟件應用意愿。
l 比LTM8061略窄:MUN3CAD02-JE的讀取電流電壓超范圍比LTM8061略窄,但仍舊包裹了常考的0.6V至3.3V的傷害電阻值條件。

4. 工做溫差標準
與其他參數該是:MUN3CAD02-JE的工作上室溫領域與TPSM82822、LMZ20502、LMZ30602、TPS84210和LTM8061同,均為-40°C至+125°C,選用到廣泛運用的化學工業和商業服務運用。
5. 成本價與交貨
成本降30%-50%,免予國際國產品牌NRE手續費,批量化銷售時整個BOM利潤可縮小15%上面。
發貨時期增強在4-6周,的部分尺寸蘋果支持現貨交易供貨。
6. 穩定性與穩定性
效能與靠譜性:MUN3CAD02-JE在特性和是真的嗎性幾個方面也許與以上材質很大,但在任何相關應用軟件中也許的表現最好。隨后,MUN3CAD02-JE機會在任何特殊的負債要求下給予較高的利用率或更低的紋波。
東莞 市立維創展科技發展授權書銷售商Cyntec旅游線廠品,傾力為潛在客戶展示 高食品品質、高的質量量、報價公平的交流電源模快廠品。現在,立維創展藏有數百名量Cyntec開關電源倉庫,列如 款式:MUN12AD03-SEC,MUN3CAD03-SE等。好產品原裝進口原機,高質量保持,為同華人中國內地餐飲市場給予技術使用,邀請咨詢服務。