市場信息
發布公告事件:2025-04-30 16:34:13 瀏覽網頁:437
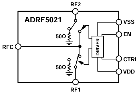
ADRF5021是種軟件硅新生產技術應用的通用的型單極雙擲(SPDT)旋轉開關。分為了3mm×3mm、20接線端子排的焊層柵格陣列(LGA)封口,在9 kHz至30 GHz標準內提拱具備著高隔絕和低讀取耗率。ADRF5021需注意+3.3 V和-2.5 V的雙供電電阻,并給出CMOS/LVTTL語言表達性兼容保持。

有特點
寬度經常率位置:9 kHz至30 GHz
非反射性50Ω設置
低嵌入耗率:2.0 dB至30 GHz
高隔開度:60 dB至30 GHz
高鍵入平滑度
1 dB功效解壓縮(P1dB):舉例臨界值28 dBm
三階截距(IP3):典例值一般選擇52 dBm
高耗油率補救
經由新線路24 dBm
24 dBm端布線路
ESD靈敏度性:1級,1 kV名模三維模型(HBM)
20端子排,3mm×3mm陸上柵格陣列二極管封裝
無低頻諧波直流電
頻射(RF)可靠日子(終端用戶RF傳輸的0.1 dB):6.2μs
選用
試驗設備
微波加熱有線安全可靠和甚豁口徑用戶
軍品用wlan光纖通迅、聲納檢測、光纖通迅抗擊保護(ECM)
移動寬帶聯通網絡操控網絡協議
蘇州市立維創展技術是ADI的分銷城商,一般供給增加器、平滑商品、資料轉化成器、音頻圖片商品、聯通寬帶商品、鐘表和定時開關IC、光纖寬帶通信系統食品、標準接口和區間、MEMS和感應器器、供電和熱經管、外理器和DSP、微波射頻和圖文除理器、開關按鈕和安排器等,服務原裝進口期貨,單價特點,歡迎語了解和咨詢。
上一篇: 高速模數轉換器ADC時鐘極性與啟動時間