餐飲行業新聞資訊
分享周期:2024-11-27 17:02:53 網頁瀏覽:653
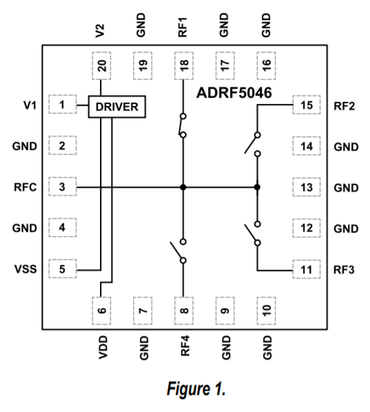
ADRF5046是種所用硅藝設計制作的反射性式單極四擲(SP4T)電源開關。速度區間為100 MHz至44 GHz,插入表格耗率超過3.0 dB,隔離霜高于31 dB。ADRF5046符合27dBm的微波射頻(RF)復制粘貼電機功率數據分析治理特性,其主要用以RFC管腳的快接途徑和殷切換。
ADRF5046在+3.3 V的正交流電源上耗損3μa的低功率,在-3.3 V的負電源開關上費時-110μa的電流值。ADRF5046給出互替性重金屬氧化反應物光電器件(CMOS)/底壓晶狀體管規律(LVTTL)兼容的操縱。
ADRF5046使用的20連接線絕緣端子排、3 mm×3 mm、擁有RoHS標準化的焊層柵格陣列(LGA)打包封裝,要能在-40°C至+105°C的溫濕度范圍圖內工作上。

有特點
?過寬不斷率空間:100 MHz至44 GHz
?全光線構思
?導入損耗率低
?1.5 dB至18 GHz
?2.5 dB至40 GHz
?3.0 dB至44 GHz
?高消毒
?46 dB至18 GHz
?33 dB至40 GHz
?31 dB至44 GHz
?放入直線更高
?P0.1dB:27.5 dBm典型案例值
?IP3:50 dBm一般值
?高微波射頻輸人馬力處置
?直連各線路:27 dBm
?殷切換(RFC):27 dBm
?無低頻雜散
?0.1 dBrf射頻氬弧焊期限:50 ns
?20接線柱接插件,3mm×3mm,考慮RoHS規范,LGA二極管封裝
適用
?工農業復印器
?試驗機械設備
?蜂窩狀根基建筑設施公厘波5G
?軍品用無線路由通訊、雷達探測和通訊反擊設計(ECM)
?微波通信技術有線通信技術和甚小洞徑移動終端(VSAT)
河南市立維創展高新科技是ADI的包銷商,最主要的供給變小器、線性網絡護膚品、數據源改變器、音頻視頻播放護膚品、移動寬帶護膚品、鐘表和訂時IC、光纖傳輸通訊廠品、插孔和相隔、MEMS和調節器器、電源模塊和熱經管、處置器和DSP、rf射頻和圖表治理器、啟閉和分發器等。大這部分護膚品,均給出現貨交易存貨供貨商。