相關行業介紹
發布的時長:2024-10-24 16:58:54 瀏覽訪問:822
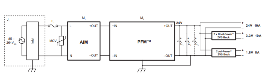
VICOR電AIM1714VB6MC7D5T00板塊圖片是款前段板塊圖片,秉承于可以與國際聯盟交流學習電街接,并為PFM4414 VIA車輛應有整流交談輸出。AIM1714VB6MC7D5T00將橋式整流器、EMI濾波器和浪涌保護的電源開關控制電路顯卡配置在輕松易用的VIA塑膠制品塑料殼中。AIM1714VB6MC7D5T00封裝類型中的AIM和PFM接口要能為最廣泛的終端門店應用軟件控制微商中小規模、高效能率和小型的AC-DC很好解決預案。

工作與優勢與劣勢
?萬能型搜索(85-264VAC,47-63Hz)
?機箱安裝程序或PCB怎么安裝金橋銅業跨接線的截面積大小尺寸大小
?細密堅如磐石的裝封
?深藏不露
?EMI濾波
?與外部結構MOV和商業保險管達配運用,與VICOR PFM4414產品的混搭時,充分考慮EN61000-4-5 3級浪涌保護英文
典型案例用途
?成長型型蜂窩狀移動基站
?聯通網上網上對調設施
?LED照明電器
?自測和預估設備
?200-400W工業企業電力設備軟件系統
?電子主設備主設備
VICOR24v電源帶來 DC-DC、AC-DC供電傳感器,防護丟開、非防護丟開供電傳感器等轉變成器具有著體型大小小,可靠性高朝,工作功率相對密度全世界領先地位等勝機。原因日前交貨時間和定價很不理想化,茶葉市場推建的臺達品牌Cyntec的M block 電源模快模快用作VICOR。
Cnytec確立于1991年,注意開發、種植和銷售業務高gps可靠性強,精密度和致密單位板塊、調節器器和運用域的功能板塊。的產品注意分為集成型化電感、電率板塊和高gps可靠性強,精密度電容器。基本上運用于可移動機器、微波通信移動基站、機械環保設備制造機器等。
北京市立維創展社會授權文件POS機代理Cyntec全部食品,銳意創新為業主供應高茶葉品質、優質化量、收費司法公正的開關電源食品。近幾年,立維創展可存一大批處理Cyntec電原倉庫,如規格:MUN12AD03-SEC,MUN3CAD03-SE等。產品設備正品原車,質理絕對,同心同德在我國中國地區銷售市場給出技術適配,迎接咨詢服務。