業房產資訊
發布的期限:2019-02-13 15:24:10 瀏覽記錄:2125
倘若您都要購ADUC7023BCPZ62I,請點擊進入右方客服專員搞好關系他們!!!
品牌
型號
貨期
庫存
ADI
ADUC7023BCPZ62I
1周
30
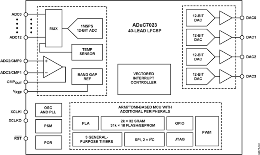
ADUC7023BCPZ62I是款截然集成型的1 MSPS,12五位數據采集程序系統,在單內存芯片上集成型了高能多過道ADC,16位/ 32位MCU和Flash / EE內存器。
ADC由幾斤1倆個單端鍵入組成了。與此同時有七個設置能用,但與七個DAC的輸出引腳復接。ADC能在單端或差分復制粘貼形式 下工作中。ADC放入的電壓為0 V至V REF。低漂移帶隙基準線,水溫感知器和端電壓比效器建全ADC外設集。
DAC輸出的區間可編譯程序為兩位交流電壓區間最為。DAC導出更具增強學習功能性,要能在看門狗或app軟件恢復回文序列期間里恢復其導出電壓降。
這么多器材采取片內振動器和PLL工作中,出現41.78 MHz的內部管理高頻數字時鐘。該掛鐘利用可程序設計掛鐘分頻器通過路由,這篇自動生成MCU內核掛鐘工作的次數。微管理器中心就是個ARM7TDMI ®,16位/ 32位RISC設備,提供了達到41的MIPS谷值耐磨性。集成ic上提供了8每每千字節的SRAM和62每每千字節的非易失性Flash / EE內存器。ARM7TDMI內核將全部的4g內存和寄存器作為單一線形陣列。
ADuC7023主要包括的專業暫停有效控器。向量暫停把握器(VIC)支持為不同暫停平均分配擇優級。它還支撐嵌套異常中斷,每個IRQ和FIQ的較大職務級別為8。當組裝IRQ和FIQ中止源時,總計有認可16個嵌套中止檔次。
片上鑄造廠固件使用使用I 2 C串行接口標準串口來進行在線免費下載軟件,并使用JTAG模塊大力支持非破壞式仿真模型。這樣的功效都一體化在同一個低制造費QuickStart?開拓機系統適用此微準換®家人。該元器件封裝包含了個擁有五傷害網絡信號的16位PWM。
來于通訊網絡效果,該配件是指2×I 2 C的通道,可專門處理配制是以或從形式。還展示了可以支持主模型英文和從模型英文的SPI接頭。
以上元器件封裝的的工作電阻值位置為2.7 V至3.6 V,額定容量溫度因素位置為-40°C至+ 125°C工業制造溫度因素位置。ADuC7023用于32引腳或40引腳LFCSP封裝。還具備36球晶圓級CSP二極管封裝(WLCSP)。
優勢和特點
微抑制器
數最多1多個ADC過道
0 V至V REF模擬訓練輸進位置
最常可出示4個DAC輸出電壓
秒表選擇
片外附進
62 kB Flash / EE數據存儲器,8 kB SRAM
在線上下載下載,源于JTAG的調試程序
游戲暈人的網絡可重編程序功能
多種不同突然中斷多種類型的先級
斷開邊沿或電平外觀引腳鍵盤輸入
讀取和輸出電壓級選擇4字節FIFO
大多數GPIO均可必須5 V額定電壓
看門狗訂時器(WDT)
16 PLA電子器件
結構圖

深圳市立維創展科技代理銷售ADI現貨產品,致力于為廣大客戶提供低價格、高質量、有保障的產品,提供優質的售前與售后服務技術。如您有任何產品需求以及服務請聯系我們客服人員,我們會再第一時間內為您解決問題。