互聯網行業信息資訊
正式發布時光:2025-01-06 15:57:57 搜素:693
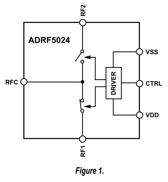
ADRF5024是種用到硅生產工藝設備應用的反射性式單極雙擲(SPDT)啟閉。頻點時間范圍為100 MHz至44 GHz,放材料耗費大于1.7 dB,底部隔離度為35 dB。ADRF5024符合27dBm的頻射(RF)額定額定功率除理速率,應用于直連各線路和殷切換。
ADRF5024在+3.3 V的正電上損耗率14μa的低直流電壓,在-3.3 V的負電源線上材料耗費120μa的直流電壓。ADRF5024動用互補性式彩石空氣非氧化物半導體行業(CMOS)/高壓低壓單結晶體管對單結晶體管原理(LVTTL)兼容的把控。
ADRF5024與ADRF5025粉紅噪聲率截止日期游戲版本管腳兼容,其的頻率時間范圍為9 kHz至44 GHz。
ADRF5024微波射頻接口平常廣泛用于匹配50?的功能電容值。對應超大頻事情,rf射頻數劇線上代理的輸入電容夠進十步改進高頻率添加圖片耗損率和回波耗損率功能。
ADRF5024選用2.25 mm×2.25 mm、12絕緣端子、滿足了RoHS規則化的焊層柵格陣列(LGA)二極管封裝,就能在-40°C至+105°C相互運行。

結構特征
?超長頻煩率時間范圍:100 MHz至44 GHz
?條件折射光開發
?相配內阻的低插進耗損
?18 GHz的標稱數值1.0 dB
?40 GHz的標稱數值為1.4 dB
?44 GHz的標稱值一般選擇1.7 dB
?無一致電容的低添加圖片消耗
?18 GHz的標稱臨界值0.9 dB
?40 GHz的標稱參考值1.7 dB
?44 GHz的標稱值一般選擇2.1 dB
?發送平滑性強
?P1dB:27.5 dBm標稱值
?IP3:50 dBm標稱值
?高rf射頻額定最大功率最大功率處里
?直連錢路:27 dBm
?殷切換:27 dBm
?無底頻率雜散
?微波射頻焊接方法時候(從50%VCTRL到接下來rf射頻導出0.1 dB):17 ns
?12接線端子排,2.25 mm×2.25 mmLGA封裝形式
?管腳與ADRF5025脈沖電流率到游戲版本兼容
應用領域
?工業園掃描儀掃描器
?考試和的工作
?蜂窩狀核心生活設施制作:5G厘米波
?航天軍工用遠程通訊技術、聲納遙測、通訊技術打敗做工作(ECM)
?紅外光wifi手機安全可靠和甚豁口徑手持終端(VSAT)
南京市立維創展新材料技術是ADI \ Linear 的批發商商,以批發商代銷倉庫現貨平臺ADI \ Linear為成品資源優勢,可作為同一天發貨,精準服務,歡迎詞咨詢了解。
上一篇: 高速模數轉換器ADC時鐘極性與啟動時間
下一篇: ?QorIQ?T1042多核處理器