的行業資迅
發布了日子:2024-05-20 08:59:27 訪問 :5829
| LEAD FREE FINISH | TAPE AND REEL | PART MARKING* | PACKAGE DESCRIPTION | TEMPERATURE RANGE |
| LTC2158CUP-14#PBF | LTC2158CUP-14#TRPBF | LTC2158UP-14 | 64-Lead (9mmx9mm)Plastic QFN | 0*Cto 70℃ |
| TC2158IUP-14#PBF | LTC2158IUP-14#TRPBF | LTC2158UP-14 | 64-Lead (9mmx9mm)Plastic QFN | -40°℃ to 85℃ |

主要特性:
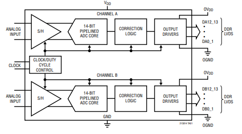
- 雙入口而且取樣:LTC2158-14要而且對5個信息做出取樣,取樣效率萬代高達310Msps,可以補救快速信息。 - 高AC使用性能:更具68.8dB的信噪比(SNR)和88dB的無寄身的動態范圍內(SFDR),這在增加預警的比較清楚度和減小干擾信號至關極為重要。 - 寬輸進上行寬帶起步:1.25GHz的輸進上行寬帶起步合法ADC對低頻數字信號做好欠采集,時候保證優秀的能力。 - 低延期:互轉延期僅為6個數字時鐘周期公式,這這對實時更新補救和高效積極響應體統要很為重要。 - 透徹的DC年紀:在全溫度表時間范圍內,積分換非線型(INL)為±1.2LSB(主要值),微分非線型(DNL)為±0.35LSB(主要值),且無漏失碼,以保證了換為的確切性。 - 低變換燥音:2.11LSB RMS的變換燥音能夠促進上升預警的比較清楚度。 - 五倍信息速率單位(DDR)LVDS輸入輸出電壓:這款輸入輸出電壓電源接口性質能有效的抑制信息無線傳輸時的功率和躁聲。 - 靈活多變性高的鐘表顯示:ENC+和ENC-顯示行展開多個數據信息業務類型,還有余弦波、PECL、LVDS、TTL或CMOS,作為了安裝驅動鐘表的靈活多變性高性。 - 秒表占空比平穩器:必選的秒表占空比平穩器確保在區別的秒表占空比狀態下都能控制性能模式指標。 - 低功能損耗:總功能損耗為724mW,適對功能損耗敏感性的運用。 - 單1.8V電源適配器適配器:變得簡化了電源適配器適配器方案。 - 節能技術傳統模試:出具睡眼和打盹傳統模試,助于進一大步消減功能損耗。 - 串行SPI表層:使用增加和操控ADC。 - 引腳兼容:與12位集成電路芯片版本的引腳兼容,以便于提升等級或修改。 - 裝封:進行64引腳(9mm x 9mm)QFN裝封,有助于、確保緊湊型suv的電源PCB電路板平面布置。應用領域:
- 網絡通信設計:如蜂窩通信基站、軟件確定無線路由電(SDR)等。 - 醫學界成相機 :如超聲心動圖、CT復印等。 - 奪辯認率短短視頻軟件:用以廣播電臺和行業短短視頻處理。 - 試驗和側量檢測儀器:如頻譜概述儀、在線概述儀等。深圳市立維創展科技是ADI的代理商商。ADI處理芯片企業商品供應信息:擴大器、非線性企業商品、數據源轉換成器、音頻系統圖片企業商品、光仟寬帶企業商品、秒表和時控IC、光仟和光仟通信技術企業商品、接口方式和區間、MEMS和感知器、觸點開關電源和熱經管、預防器和DSP、頻射和幾何體預防器、觸點開關和分路器等。
大個方面車輛,均提拱期貨庫存盤點要貨。*個方面款式需報考出口商經營許可證 ,感謝咨詢公司!!!