業內房產資訊
正式發布精力:2025-09-29 14:27:05 查看:37
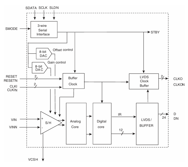
AT84AS001是E2V品脾推出了的強性能指標12位系數轉型器(ADC),要具備500 MSPS采集率、低功能消耗及1.5 GHz全效率顯示資源帶寬,實用作公測與測量機器設備、雷達探測與定位傳輸器應用平臺、wifi手機與閉路電視無線通信傳輸器、醫學研究三維成像以其髙速數據源收集平臺等領域行業。

測試儀與測試測試儀器:
AT84AS001的100辨別好壞率(12位)和500 MSPS監測率,使其夠品質兼優捕捉到更快的變的模擬網數據電磁波,適用人群于示波器、頻譜研究儀等須得高品質兼優數據電磁波轉化的場合。其低工作電壓設計方案(2.3W)和EBGA192封裝也易于整合到攜便式式測試儀裝置中。
汽車雷達與定位發送到器子模式:
在雷達天線系統軟件中,AT84AS001可治理 高頻數字信號(全最大功率錄入資源帶寬>1.5 GHz),推動受眾的檢測和關注。小行星通信網絡中,其低噪音源性能方面(SFDR=72 dBc)和最新范圍圖(SNR=62 dBc)狠抓通信衛星數據無線傳輸的性能性,應用做深空發現或白矮星同歩通信衛星的通信衛星數據傳輸。
wifi與有線寬帶微波通信接受到器:
大力支持4G/5G移動基站、微波射頻通信網絡等高頻場所,其差分復制粘貼(1.1 Vpp)和LVDS內容輸出瀏覽器兼容性(100Ω)可減小警報模糊。在閉路電視通信設備中,如金屬文件傳輸或電纜線熬制解調器,AT84AS001能有效補救高速收費站數據文件流。
醫美顯像:
在超聲清洗、MRI等機械中,AT84AS001的12位非線性度和低顯卡功耗性能指標可上升圖形分別率,一并極大減少設備低熱,延遲電芯筆記本續航精力。其搜集重設錄入系統也利于多過道衛星信號搜集錄入。
高速公路統計資料采集工具平臺:
適于于民航航天科技、油田探礦等所需實時交通探測的情境。其3線串行語言編程端口使用增益值/偏差改變,可轉變各種不同表現波動。行業管控中,AT84AS001可監測數據震動、工作溫度等參數表,完成手動化種植。
東莞立維創展科學是Teledyne E2V的生產商商,主耍實現供給充足Teledyne E2V變位系數更換器和半導體材料,均可為買家提拱 Teledyne E2V全題材 DAC(含宇航級選擇)的電機選型、評定板及技藝能夠。價優點,感謝咨訊。
上一篇: 高速模數轉換器ADC時鐘極性與啟動時間